- Microprocessor - Home
- Microprocessor Overview
- Microprocessor Classification
- Microprocessor Evolution
- Microprocessor Components
- Microprocessor Characteristics
- Microprocessor Functions
- Microprocessor Pros & Cons
- Microprocessor Application
- Microcontrollers Types
- Microcontrollers Pros & Cons
- 8085 Microprocessor Architecture
- 8085 Microprocessor Pin Configuration
- Addressing Modes & Interrupts
- 8085 Microprocessor Instruction Sets
- 8085 Microprocessor Features
- Externally Initiated Operations
- 8086 Microprocessor
- 8086 Microprocessor Overview
- Functional Units
- Pin Configuration
- Instruction Sets
- 8086 Microprocessor Interrupts
- 8086 Microprocessor Addressing Modes
- 8086 Microprocessor Features
- Memory Segmentation
- Auxiliary Carry Flag
- Maximum and Minimum Mode Configurations
- Multiprocessor Configuration
- Configuration Overview
- 8087 Numeric Data Processor
- I/O Interfacing
- I/O Interfacing Overview
- 8279 Programmable Keyboard
- 8257 DMA Controller
- Serial vs Parallel Communication
- Serial Communications Interface
- Parallel Communication Interface
- 8051 Microcontrollers
- Microcontrollers Overview
- 8051 Microcontrollers Architecture
- 8051 Pin Description
- 8051 Input Output Ports
- 8051 Microcontrollers Interrupts
- Instruction Sets
- Logical Instructions in AVR
- Conditional Branch Instructions AVR
- Arithmetic Instructions in AVR
- External Memory Interfacing
- Time Delay in AVR
- 8051 vs PIC Microcontroller
- Peripheral Devices
- Peripheral Devices
- Programmable Peripheral Interface
- Intel 8255A Pin Description
- Programmable Interval Timer
- 8253/54 Operational Modes
- Interfacing Devices
- Applications and Furture Trends
- Microcontrollers - Application
- Microcontrollers - Low-Power
- Microprocessor Useful Resources
- Microprocessor - Quick Guide
- Microprocessor - Useful Resources
- Microprocessor - Discussion
Microprocessor - 8086 Overview
8086 Microprocessor is an enhanced version of 8085Microprocessor that was designed by Intel in 1976. It is a 16-bit Microprocessor having 20 address lines and16 data lines that provides up to 1MB storage. It consists of powerful instruction set, which provides operations like multiplication and division easily.
It supports two modes of operation, i.e. Maximum mode and Minimum mode. Maximum mode is suitable for system having multiple processors and Minimum mode is suitable for system having a single processor.
Features of 8086
The most prominent features of a 8086 microprocessor are as follows −
It has an instruction queue, which is capable of storing six instruction bytes from the memory resulting in faster processing.
It was the first 16-bit processor having 16-bit ALU, 16-bit registers, internal data bus, and 16-bit external data bus resulting in faster processing.
-
It is available in 3 versions based on the frequency of operation −
8086 → 5MHz
8086-2 → 8MHz
(c)8086-1 → 10 MHz
It uses two stages of pipelining, i.e. Fetch Stage and Execute Stage, which improves performance.
Fetch stage can prefetch up to 6 bytes of instructions and stores them in the queue.
Execute stage executes these instructions.
It has 256 vectored interrupts.
It consists of 29,000 transistors.
Comparison between 8085 & 8086 Microprocessor
Size − 8085 is 8-bit microprocessor, whereas 8086 is 16-bit microprocessor.
Address Bus − 8085 has 16-bit address bus while 8086 has 20-bit address bus.
Memory − 8085 can access up to 64Kb, whereas 8086 can access up to 1 Mb of memory.
Instruction − 8085 doesnt have an instruction queue, whereas 8086 has an instruction queue.
Pipelining − 8085 doesnt support a pipelined architecture while 8086 supports a pipelined architecture.
I/O − 8085 can address 2^8 = 256 I/O's, whereas 8086 can access 2^16 = 65,536 I/O's.
Cost − The cost of 8085 is low whereas that of 8086 is high.
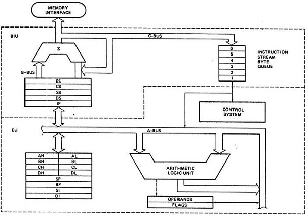
Architecture of 8086
The following diagram depicts the architecture of a 8086 Microprocessor −
